- 霍尔效应线性电流传感器-ACS711
- 来源:赛斯维传感器网 发表于 2011/6/20
描述
Allegro® ACS711 为 <100 V 音频、通信系统、大型家用电器和机动车应用的交流或直流电流感应提供经济和准确的解决方案。该装置封装便于客户轻松实施。典型应用包括电路保护、电流监控以及电机和逆变器控制。
该装置包含一个线性霍尔传感器集成电路,且其铜制的电流路径靠近晶片的表面。通过该铜制电流路径施加的电流能够生成可被集成霍尔 IC 感应并转化为成比例电压的磁场。通过将磁性信号靠近霍尔传感器,实现器件精度优化。
装置输出的斜率与从 IP+ 到 IP– (引脚 1 和 2 到引脚 3 和 4)的电流成正比。该电流路径的内部电阻一般为 1.2 mΩ,提供非介入式测量接口,适合要求节省能源的应用。
虽然电流路径的终端与传感器导线绝缘(引脚 5 到 8 ),但 ACS711 非常适合低端电流感应应用,可为低交流或直流工作电压应用提供足够的内部爬电和隔离空间。铜线的尺寸允许器件在高达 5× 的过电流条件下运行。
ACS711 采用小型表面安装 SOIC8 封装。引脚框采用 100% 雾锡电镀,可与标准无铅印刷电路板装配流程兼容。
除倒装法使用的当前豁免于 RoHS 的高温含铅焊球外,该器件内部不含铅。器件在出厂装运前已完全校准。
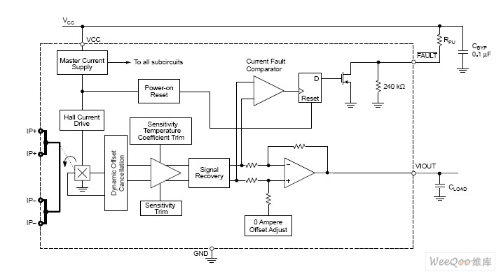
功能方框图

特点
●无需外部感应电阻,单独封装方案
●1.2 mΩ 内部导体电阻,减少功率损耗
●经济型低端及高端电流感应
●输出电压与交流或直流电流成比例
●±12.5 A 和 ±25 全刻度感应范围
●过流故障跳闸,在 100% 满标电流时锁定
●低噪音模拟信号路径
●100 kHz 带宽
●小型低厚度 SOIC8 封装
●3.0 至 5.5 V, 单电源工作
●集成静电屏蔽,保持输出稳定
●出厂时已经校准,确保精确度
●极稳定的输出偏移电压
●零磁滞
●电源电压的成比例输出
典型应用

转载请注明来源:赛斯维传感器网(www.sensorway.cn)
- 如果本文收录的图片文字侵犯了您的权益,请及时与我们联系,我们将在24内核实删除,谢谢!















